
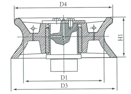
| Type | Rated tiowing pull(Kn) | Breaking strain of rope(Kn) | Weight (Kg) | D1 | D3 | D4 | H1 | ||
| 1 | 10 | 90 | 14 | 160 | 210 | 195 | 80 | ||
| 2 | 20 | 150 | 20 | 200 | 265 | 245 | 102 | ||
| 3 | 30 | 220 | 33 | 250 | 330 | 300 | 126 | ||
| 5 | 50 | 350 | 72 | 320 | 420 | 390 | 160 | ||
| 8 | 80 | 500 | 140 | 400 | 530 | 490 | 208 | ||
| 12 | 120 | 800 | 240 | 450 | 610 | 560 | 256 | ||
| 20 | 200 | 1150 | 320 | 500 | 640 | 620 | 278 | ||
| 32 | 320 | 1750 | 580 | 560 | 780 | 740 | 348 | ||


CN
EN
Your location:
Home
Tel
Product