
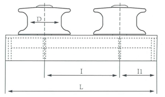
| 规格 Size |
D | L | l | l1 |
| 150 | 150 | 740 | 420 | 160 |
| 200 | 200 | 930 | 530 | 200 |
| 250 | 250 | 1100 | 640 | 230 |
| 300 | 300 | 1270 | 750 | 260 |
| 350 | 350 | 1440 | 860 | 290 |
| 400 | 400 | 1610 | 970 | 320 |
| 450 | 450 | 1800 | 1080 | 360 |
您的位置:首页 > 产品展示 > 船用锚链及附件 > 滚轮

| 规格 Size |
D | L | l | l1 |
| 150 | 150 | 740 | 420 | 160 |
| 200 | 200 | 930 | 530 | 200 |
| 250 | 250 | 1100 | 640 | 230 |
| 300 | 300 | 1270 | 750 | 260 |
| 350 | 350 | 1440 | 860 | 290 |
| 400 | 400 | 1610 | 970 | 320 |
| 450 | 450 | 1800 | 1080 | 360 |